Внимание!
данный переключатель изготовлен из алюминия и металла, а материал электрического контакта из серебра
Прошу не путать с бюджетным переключателем изготовленным из АРМАМИДА (ПЛАСТИК).
Применяется практически во всех российских промышленных электрических плитах.
Подходит для электрических плит серия ЭП, ЭПК, "Абат" переключатель устанавливался до 2007г. выпуска.
Жарочных шкафов серии ШЖЭ (ШЖЭ-1, ШЖЭ-2, ШЖЭ-3)
Гомельторгмаш: электрические плиты ПЭМ3-010, ПЭМ4-010, ПЭМ6-010, а также мармит первых (1) блюд МЭС-1.
Проммаш: ПЭТ-0,51 ПЭТ-0,34.
Пищевые технологии: ПЭП-0,48М-ДШ, ПЭП-0,48М-ДШ-Н, ПЭП-0,72М-ДШ, ПЭП-0,72М-ДШ-Н
Тверьторгтехника
Тулатехмаш
Тулаторгтехника,
ITERMA
Чувашторгтехника Abat
Номинальный ток 25А
Номинальное напряжение 220 и 250В
Переменный ток частоты 50 и 60 Гц с номером схемы 6/2
Переключатель жаростойкий ТПКП в комплекте с ручкой предназначен для включения и переключения нагревательных элементов в промышленных электроплитах
Технические характеристики:
Материал: фенопласт; материал электрического контакта: Серебро.
Материал корпуса: металл алюминий
Напряжение/Частота, В/Гц: 220/50. Номинальный ток, А: не более 25.
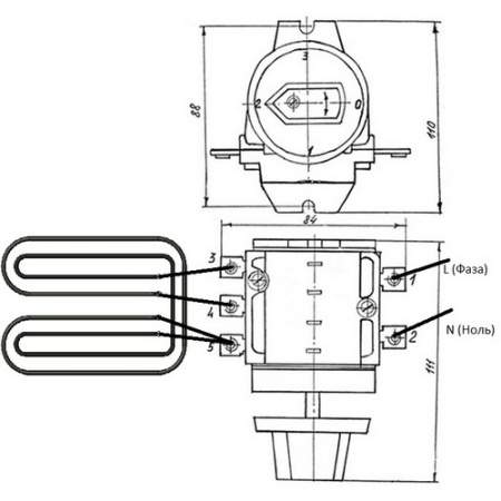
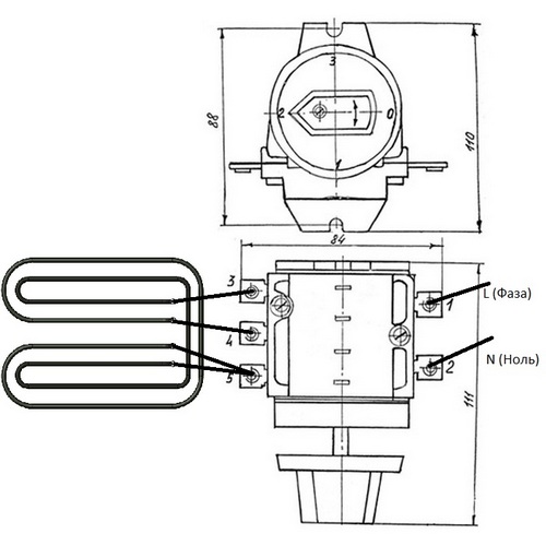
Габаритные размеры, мм: 88х105х118
Масса, кг: не более 0,4
1 последовательно включены две электрические цепи нагрузки (контакты 1-3 и 2-4 замкнуты);
2 включена одна электрическая цепь нагрузки (контакты 1-3 и 2-5 замкнуты);
3 параллельно включены две электрические цепи нагрузки (контакты 1-3, 1-4 и 2-5 замкнуты).
Термостойкий переключатель ТПКП предназначен для включения нагревательных элементов электроплит
цехов общественного питания.
Конструкция и принцип работы:
В однофазных электротепловых аппаратах нагревательный элемент состоит из двух секций,
различные способы включения которых изменяют его мощность.
Включение секции - последовательное и параллельное;
включение одной из секций осуществляют переключателем.
Кулачковый переключатель ТПКП состоит из шпинделя 2 с кулачками механизма быстрого переключателя 3, корпуса 4 и контактной группы 7 с клеммами 5 неподвижных контактов.
Контактная группа закреплена на корпусе с помощью винтов б. Механизм быстрого переключения 3 крепится винтами 8.
Он состоит из фигурной шайбы, к впадинам которой пружинами прижимаются шарики.
При повороте рукоятки на 45° пружины сжимаются и шарики начинают соприкасаться с выступами шайбы.
При дальнейшем повороте рукоятки потенциальная энергия сжатых пружин увеличивает скорость вращения шпинделя с кулачками.
При быстром повороте кулачков увеличивается скорость размыкания контактов, поэтому искра (дуга) между ними легче гасится.
При повороте рукоятки на 90° по часовой стрелке (положение рукоятки "1") все нагревательные элементы оказываются включенными в электросеть последовательно, а нагрев будет слабым.
При установлении рукоятки в положение "2" одна часть нагревательных элементов будет обесточена, а другая включена, что приведет к снятию половины мощности (средний нагрев).
При переводе рукоятки в положение "3" все нагревательные элементы будут включены параллельно, что дает максимальный нагрев. Таким образом, соотношение мощностей приемника будет 4 2 1
данный переключатель изготовлен из алюминия и металла, а материал электрического контакта из серебра
Прошу не путать с бюджетным переключателем изготовленным из АРМАМИДА (ПЛАСТИК).
Применяется практически во всех российских промышленных электрических плитах.
Подходит для электрических плит серия ЭП, ЭПК, "Абат" переключатель устанавливался до 2007г. выпуска.
Жарочных шкафов серии ШЖЭ (ШЖЭ-1, ШЖЭ-2, ШЖЭ-3)
Гомельторгмаш: электрические плиты ПЭМ3-010, ПЭМ4-010, ПЭМ6-010, а также мармит первых (1) блюд МЭС-1.
Проммаш: ПЭТ-0,51 ПЭТ-0,34.
Пищевые технологии: ПЭП-0,48М-ДШ, ПЭП-0,48М-ДШ-Н, ПЭП-0,72М-ДШ, ПЭП-0,72М-ДШ-Н
Тверьторгтехника
Тулатехмаш
Тулаторгтехника,
ITERMA
Чувашторгтехника Abat
Номинальный ток 25А
Номинальное напряжение 220 и 250В
Переменный ток частоты 50 и 60 Гц с номером схемы 6/2
Переключатель жаростойкий ТПКП в комплекте с ручкой предназначен для включения и переключения нагревательных элементов в промышленных электроплитах
Технические характеристики:
Материал: фенопласт; материал электрического контакта: Серебро.
Материал корпуса: металл алюминий
Напряжение/Частота, В/Гц: 220/50. Номинальный ток, А: не более 25.
Габаритные размеры, мм: 88х105х118
Масса, кг: не более 0,4
1 последовательно включены две электрические цепи нагрузки (контакты 1-3 и 2-4 замкнуты);
2 включена одна электрическая цепь нагрузки (контакты 1-3 и 2-5 замкнуты);
3 параллельно включены две электрические цепи нагрузки (контакты 1-3, 1-4 и 2-5 замкнуты).
Термостойкий переключатель ТПКП предназначен для включения нагревательных элементов электроплит
цехов общественного питания.
Конструкция и принцип работы:
В однофазных электротепловых аппаратах нагревательный элемент состоит из двух секций,
различные способы включения которых изменяют его мощность.
Включение секции - последовательное и параллельное;
включение одной из секций осуществляют переключателем.
Кулачковый переключатель ТПКП состоит из шпинделя 2 с кулачками механизма быстрого переключателя 3, корпуса 4 и контактной группы 7 с клеммами 5 неподвижных контактов.
Контактная группа закреплена на корпусе с помощью винтов б. Механизм быстрого переключения 3 крепится винтами 8.
Он состоит из фигурной шайбы, к впадинам которой пружинами прижимаются шарики.
При повороте рукоятки на 45° пружины сжимаются и шарики начинают соприкасаться с выступами шайбы.
При дальнейшем повороте рукоятки потенциальная энергия сжатых пружин увеличивает скорость вращения шпинделя с кулачками.
При быстром повороте кулачков увеличивается скорость размыкания контактов, поэтому искра (дуга) между ними легче гасится.
При повороте рукоятки на 90° по часовой стрелке (положение рукоятки "1") все нагревательные элементы оказываются включенными в электросеть последовательно, а нагрев будет слабым.
При установлении рукоятки в положение "2" одна часть нагревательных элементов будет обесточена, а другая включена, что приведет к снятию половины мощности (средний нагрев).
При переводе рукоятки в положение "3" все нагревательные элементы будут включены параллельно, что дает максимальный нагрев. Таким образом, соотношение мощностей приемника будет 4 2 1
Отзывы
Оставить отзыв
Загрузка отзывов...
Доставка осуществляется по всем регионам РФ, через транспортные компании – ДЕЛОВЫЕ ЛИНИИ, ПЭК, СДЭК и другие транспортные компании.